科企創新信息
重慶珞優農業科技有限公司
重慶珞優農業科技有限公司,成立于2016年4月29日,公司主要經營農業技術研發、推廣、轉讓;種植-銷售:水稻、蔬菜、水果、綠化植物;養殖-銷售:家禽、水產品等。
目前,重慶珞優農業科技有限公司還認定了高新企業及小微企業。擁有多項知識產權,具體內容如下:
——專利——
專利名 | 專利類型 | 專利申請號 |
包裝盒(富硒貢米) | 外觀設計 | CN202130017024.9 |
自熱魔芋米飯用密封包裝盒 | 外觀設計 | CN202130017339.3 |
一種魔芋優質高產智能栽培管理裝置 | 實用新型 | CN202022956050.0 |
一種出油率高的稻米油生產壓榨設備 | 實用新型 | CN202022955889.2 |
一種火焰滅蟲除草設備 | 實用新型 | CN202022953399.9 |
一種富硒富鋅富鉻有機貢米生產裝置 | 實用新型 | CN202022956120.2 |
魔芋播種采收一體智能裝置 | 實用新型 | CN202022953289.2 |
一種農業生產用拌料設備 | 發明專利 | CN201710466303.6 |
一種秸稈破碎揉搓裝置 | 發明專利 | CN201610579855.3 |
一種秸稈粉碎壓縮裝置 | 發明專利 | CN201610236944.8 |
一種用于脫粒機的喂入調節裝置 | 發明專利 | CN201610210906.5 |
一種糧食干燥裝置 | 發明專利 | CN201610214257.6 |
一種用于播種機排種器的快速調節裝置 | 發明專利 | CN201610115825.7 |
一種農業大棚自動清掃裝置 | 發明專利 | CN201610035441.4 |
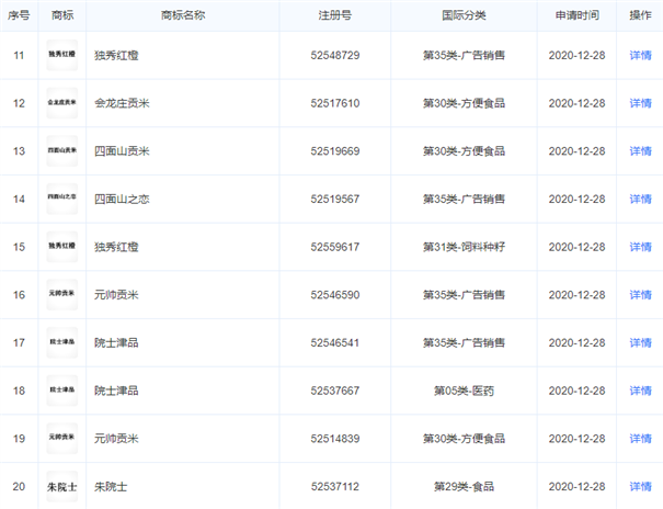
——商標——



【著作權】
類別:美術
名稱:朱院士
登記號:渝作登字-2021-F-00013484
登記日期:2021-05-28
環紐科技專注于政策顧問服務,高企認證服務,技術成果轉移服務,資本與上市服務。
詳情請關注環紐網站 http://m.swguakao.cn/
全國服務熱線:15723348380 辦公室電話:023-68554347
下一篇:重慶黑曜科技有限公司
